Лопастной подъемник серии D2
-
Особенности
Возможности продукта
- Система имеет плавное ограничение, снижающее риск столкновения и обеспечивающее гибкий рабочий диапазон.
- Эргономичная конструкция рукоятки делает ее удобной. Она оснащена двухсторонними рычагами управления, можно легко управлять одной рукой, за счет чего можно попеременно менять руки.
- Бесступенчатое изменение скорости обеспечивает перемещение на миллиметровый уровень. Позволяет не только достичь точного позиционирования, но и обеспечить плавную работу. В полной мере обеспечиваются быстрые, точные и стабильные характеристики интеллектуального подъемника.
- Подходит для различных рабочих блоков. Позволяет не только снизить трудоемкость, но и обеспечить интеллектуальную сборку и эффективную работу.
Технические характеристики
Параметр D2B012-F
D2C012-FD2B025-F
D2C025-FD2B050-F
D2C050-FМаксимальная нагрузка (кг)
125
250
500
Скорость подъема – двойная скорость (м/мин.)
1/12
1/12
1/8
Скорость подъема – бесступенчатая скорость (м/мин.)
0-16
0-16
0-10
Номинальная мощность (кВт)
0,75
0,75
1,1
Максимальный вертикальный ход (м)
2,8 (регулируемая)
Режим управления
F3 переменная
F2 бесступенчатая2 скорости / РУКОЯТКА переключения скоростей
Масса (кг)
25
25
32
Характеристики цепи (мм)
5,0
5,0
5,0
Электропитание
Стандартное напряжение 380 В (опционально 220 В)
Рабочий уровень
3м/M6
3м/M6
3м/M6
Рабочая температура (°C)
-10°C~55°C
Примечание: Данные приведены только для справки при выборе, а фактические данные указаны на паспортной табличке изделия
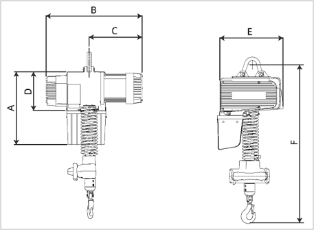
Габариты (мм)
Модель A B C D E F D2B012-D2C012-I
346
424
219
167
296
h < 830
D2B025-D2C025-I
346
424
219
167
296
h < 830
D2B050-D2C050-I
350
468
260
188
313
h < 867
.png)
Электрическая схема

Примечание: Только для справки, фактическая линейка приведена в руководстве по эксплуатации.
Доставка товара
- Доставка до любой точки России транспортными компаниями
- Срочная доставка DHL (2 дня в любую точку России)
- Поставка "под заказ" от 5 до 10 дней.
Оплата товара
Наличный и безналичный расчет
Гарантия
Официальная гарантия от производителя
Сервис
Ремонт и обслуживание
-
Отзывы
ВЫ НЕДАВНО СМОТРЕЛИ
Интеллектуальные подъемные устройства

ПРЕДСТАВЛЕННЫХ БРЕНДОВ

НА ВСЕ ТОВАРЫ НАШЕГО МАГАЗИНА

КАЧЕСТВА

РАБОТАЕМ В СРОК






Доставка и оплата
Сервис